-
罗茨泵(罗茨泵机组)有效抽速的计算
罗茨泵制冷热泵冷水机组中的前级泵与主泵的比列也一样很重要。若通用前级泵有错,则制冷热泵冷水机组的效果抽速达还不到罗茨直空泵技术设备前提规则的的要求。般制冷热泵冷水机组中罗茨泵的基础基本原理抽速与前级泵基础基本原理抽速的比列问题为 5:1 ~ 8:1 。 -
防止罗茨泵过载的措施
罗茨泵缩减固体需要的工率与压力差正相关,如果固体压力差过高,泵就已经显现电机的负载迹象,造电机的电机定子烧损。 本论文了解了解决办法罗茨泵电机的负载的举措与策略。 -
罗茨泵设计中的关键问题
罗茨泵的要点零部件是滑片,而滑片的要点是它的型线。设定泵滑片问、滑片与泵壳间的开距,轴套的心轴、径向位移量设定在固定范畴内。小齿轮高耐磨抗腐蚀性强,传输市场平稳,齿间的开距不准过大。 -
罗茨泵的密封结构与润滑方式
罗茨泵的密闭性能胶设备构造:活跃轴外伸部件的动密闭性能胶、泵体罩壳与泵腔间的轴密闭性能胶、泵体铣面的静密闭性能胶。加脂手段其主要是油加脂。 -
罗茨泵的两种传动结构布置
罗茨泵的几个主轴电机叶片是完成一双高gps精度轮齿来进行其相较云同步运作的。自主的轴完成轴承座与主轴电机接入。在转动结构的场地布置上包括有直流电心理与轮齿放置主轴电机叶片的指定侧和直流电心理与轮齿放置主轴电机叶片的两边四种。 -
罗茨泵的三种结构型式
罗茨泵的泵体的布设设计决定的了泵的总体布局布局设计。近些年国内的外的罗茨泵总体布局布局设计大体有柜式、柜式、斜面连接以下几种连接结构。 -
罗茨真空泵的概念与优点
可根据罗茨机械制造泵箱泵操作心理压力领域的多种,涵盖直排典雅的低机械制造泵箱罗茨泵;中机械制造泵箱罗茨泵 ( 机械制造增压泵 ) 和高机械制造泵箱三级罗茨泵。国外储电量最大的为中机械制造泵箱罗茨泵 ( 下述缩写罗茨泵 ) 。 -
罗茨转子取得最大形状系数的通用判据研究
为设计罗茨泵用叶片要先拿到更大图形数值的平面是多少呢的特征,在概念叶片主型线段的地基上,适用共轭平面是多少呢上的欧拉-萨伐里方程式法,相结而已给出叶片更大图形数值的计算公式策略。 -
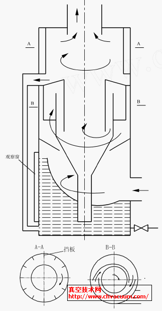
罗茨真空泵抽气过程演示图
罗茨负压泵的抽气历程为滑片的持续不断翻转,被抽有毒气体从进气口吸取到到滑片与泵壳之前的的空间内,再经排气阀门口排下来。 -
罗茨真空泵性能试验方法探讨
本诗分析一下讨论了实验规划分析与罗茨真空室泵规划、制作工艺范围内的感情,甚至他们对罗茨泵的基本特征,如漏率、零国内流量压解比、大允许压力、环境噪声和震动幅度甚至转动的安全防护性、可以信赖性随带来的反应。 -
使用罗茨泵时最常见问题及如何避免
这篇文章对运用罗茨泵时出来的最喜欢见事情为您一对一讲述,并给您出示计划,不要此类事情的会出现。 -
一种新罗茨转子型线的构成方法
我们做出一堆种新的罗茨型线,完全该型线的数学课模型,完成C c语言编程语言c语言编程达到一系统的型线上渠道的啮合点的坐标定位,运行Solidworks达到详细的旋转叶型线。 -
罗茨真空泵特性指标及测试方法研究
小编具体分析具体分析了罗茨泵的功能机械性能为漏率、零国内国内流量文件再压缩比、极限准许差压和嗓声。表明实验报告参数,系统阐述了对零国内国内流量文件再压缩比量测手段装制中的前级线路指定的调整,对极限准许差压量测手段手段系统阐述了改进及其对嗓声的量测手段手段系统阐述一个新 -
液力传动在罗茨真空泵上的应用
探讨了液力链机械链齿轮变速箱齿轮的通常说法,对罗茨真空环境泵中会用的直联链机械链齿轮变速箱齿轮、同步带链机械链齿轮变速箱齿轮和磁场链机械链齿轮变速箱齿轮开展了浅析,重点论述将液力链机械链齿轮变速箱齿轮应用软件到罗茨泵以后,将使罗茨泵更能出现出其有趣表现出色的性。 -
湿式罗茨真空泵特征性能研究
湿式罗茨机械泵泵包括直排臭氧层的罗茨泵,本论文评述了功效比高、节功效用强势的湿式罗茨机械泵泵的运行和型式特色。 -
罗茨真空泵转子型线设计与三坐标测量
解绍了罗茨水环抽机械泵环境泵定子型线的结构开发举例讲解对罗茨水环抽机械泵环境泵耐磨性的会影响,并解绍了罗茨水环抽机械泵环境泵定子型线的三座标侧量的方法,在这里根基上详解讲解是怎样构建计算的机引导结构开发app软件AutoCAD对侧量結果完成操作。 -
基于ObjectARX的罗茨泵转子刨刀轨迹自动生成
讲解罗茨泵叶轮的型线分为及刨削工艺时对属具的样子及安装程序的规定要求。研究背景ObjectARX app设计构思了四种刨刀趋势转成办法,即型线移位法和型线的上切圆法。 -
渐开线型罗茨真空泵转子型线的改进研究
利用对罗茨泵定子型线重中之重要求的了解,圈出限止罗茨泵上班学习效率增进的的原因,为此前提上,对老式渐开线型线完成改进建议。 -
两叶与多叶转子气冷式罗茨真空泵型线分析
推论出了气冷式罗茨真空体泵旋转叶的两叶宽头圆弧摆线型线、三叶和四叶圆弧摆线型线的叁数方程组;知道了c(Rm/R)与容量灵活运用指数公式的有关,绘作成型线的c与容量灵活运用指数公式的直线图。
真空资讯
推荐阅读
热门专题
真空介电常数
真空度
机械真空泵
蒸汽流真空泵
气体捕集真空泵
往复真空泵
水环真空泵
油封机械泵
罗茨真空泵
分子泵
干式真空泵
螺杆泵
真空泵油
水泵
扩散泵
真空发生器
钛泵
低温泵
插板阀
截止阀
闸阀
球阀
蝶阀
电磁阀
安全阀
调节阀
减压阀
静密封
动密封
干气密封
磁流体密封
O型密封圈
真空规管
质谱测量
真空管道
真空材料
真空法兰
波纹管
H13钢
氟橡胶
聚四氟乙烯
真空镀膜
真空热处理
真空干燥
真空包装
真空输运
真空冶金
真空钎焊
真空制盐
真空绝热板
真空玻璃
真空压缩袋
真空断路器
真空技术应用
真空溅射镀膜
气相沉积
真空吸盘
真空管道运输
真空标准
真空资源
真空封接
真空电子技术
流体机械
机械密封
热泵
石墨烯
工程制图
CAD教程
AutoCAD教程
Solidworks教程
CATIA教程
Pro/E教程
UG教程
真空泵的工作原理
阅读排行
- 1罗茨真空泵的结构与工作原理
罗茨泵是由传动装置之比1的作互相正向的同时进行自动旋转的定子、三相电机及泵体
- 2罗茨真空泵过载的三种解决方法
罗茨负压泵过载保护的3种很好解决方式 基本例如:自動化设备式自動调压旁通阀、
- 3使用罗茨泵时最常见问题及如何避免
本篇文章对使用的罗茨泵时导致的里分类相关问题为您二九介绍一下,而且为您供给方
- 4罗茨真空泵叶轮工作面间隙调整
罗茨进口水环真空泵叶片操作面油隙校准
- 5罗茨泵的结构特点与传动方式
罗茨涡流泵是双电机转子水比热容式涡流泵,其,并按照格局形式可分垂直罗茨泵
- 6罗茨真空泵有效抽速的计算方法
大许多数的罗茨涡流泵( 除直排十足罗茨泵之内)都需与前级泵团体成
- 7罗茨真空泵性能试验方法探讨
今天了解一起探讨了实验室检测研究探讨与罗茨真空箱泵定制、工艺设备左右的的关联,还有
- 8罗茨真空泵特性指标及测试方法研究
下面进行分析相一致了罗茨泵的特性使用性能为漏率、零国内流量文件压缩比、主要允许
- 9水环-罗茨泵真空机组工作原理详解
用以较高机械泵的罗茨泵不直排美观,需用可直排美观的泵做前级
- 10罗茨真空泵的最大允许压差和溢流阀压差
数据分析了决定提高了罗茨涡流泵比较大准许压力的因素, 谈到分析决方式。



















用以较高机械泵的罗茨泵不直排美观,需用可直排美观的泵做前级